| YCMP-ärtsilä RT-flex48T-D | IMO Tier II/Tier III (SCR) | |||||||||||||||
| 气缸直径 Cylinder bore | 480 mm | |||||||||||||||
| 活塞行程 Piston stroke | 2000 mm | |||||||||||||||
| 转速 Speed | 102–127 rpm | |||||||||||||||
| R1点的平均有效压力 Mean effective pressure at R1 | 19.0 bar | |||||||||||||||
| 行程/缸径 Stroke / bore | 4.17 | |||||||||||||||
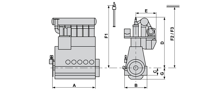
| 额定功率、主要尺寸和重量 Rated power, principal dimensions and weights | ||||||||||||||||
| Cyl. | Output in kW at | Length A mm |
Weight tonnes | |||||||||||||
| 127 rpm | 102 rpm | |||||||||||||||
| R1 | R2 | R3 | R4 | |||||||||||||
| 5 | 7 275 | 5 100 | 5 825 | 5 100 | 5 314 | 171 | ||||||||||
| 6 | 8 730 | 6 120 | 6 990 | 6 120 | 6 148 | 205 | ||||||||||
| 7 | 10 185 | 7 140 | 8 155 | 7 140 | 6 982 | 225 | ||||||||||
| 8 | 11 640 | 8 160 | 9 320 | 8 160 | 7 816 | 250 | ||||||||||
| Dimensions (mm) |
B | C | D | E | ||||||||||||
| 3 170 | 1 085 | 7 334 | 3 253 | |||||||||||||
| F1 | F2 | F3 | G | |||||||||||||
| 9 030 | 9 030 | 8 790 | 1 700 | |||||||||||||
| 单位油耗 Brake specific fuel consumption (BSFC) in g/kWh | ||||||||||||||||
| Full load | ||||||||||||||||
| Rating point | R1 | R2 | R3 | R4 | ||||||||||||
| BMEP, bar | 19.0 | 13.3 | 19.0 | 16.6 | ||||||||||||
| BSFC | Standard Tuning | 170 | 164 | 170 | 166 | |||||||||||
| Part load,% of R1 | 85 | 70 | 85 | 70 | 60 | |||||||||||
| Tuning variant | Standard | Standard | Delta | Delta | Low-Load | |||||||||||
| BSFC | 166.4 | 166.0 | 165.7 | 164.5 | 162.2 | |||||||||||
| F1: 垂直拆卸活塞时的最低高度 Min height for vertical removal F2: 使用双臂式吊车垂直拆卸活塞时的最低高度 Min height for vertical removal with double-jib crane F3: 使用双臂式吊车倾斜拆卸活塞时的最低高度 Min height for tilted removal with double-jib crane |
||||||||||||||||
